可提供规格型号
| Size | 1/4” | 3/8” | 1/2” | |
|---|---|---|---|---|
| Cv value | 0.27 | 0.65 | ||
| Max.Operating Pressure | 1.0MPa(G) | |||
| Operating Temp. Range | -10〜80℃ | |||
| External Leakage | Inboard | ≦3×10-12 Pa・m3 /sec Helium | ||
| Across Seat | ≦3×10-10 Pa・m3 /sec Helium | |||
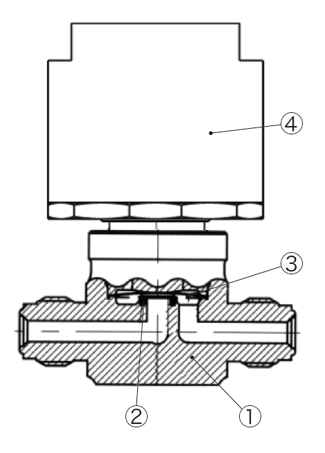
| Part name | 材质 |
|---|---|
| ①Body | SUS316L |
| ②Seat | PCTFE |
| ③Diaphragm | Ni-Co Alloy |
| ④Actuator | Aluminum |
| Size | A | B | C | D | E | F | G | H |
|---|---|---|---|---|---|---|---|---|
| 1/4″ | 11 | 65 | 46 | 58 | 25 | 30 | 30 | Rc1/8 |
| 1/2″ | 17.5 | 73.5 | 56 | 76 | 28 | 37 | 37 | Rc1/8 |
| Size | A | B | C | D | E | F | G | H |
|---|---|---|---|---|---|---|---|---|
| 1/4″ | 11 | 65 | 46 | 70.6 | 25 | 30 | 30 | Rc1/8 |
| 1/2″ | 17.5 | 73.5 | 56 | 100 | 28 | 37 | 37 | Rc1/8 |
| Size | A | B | C | D | E | F | G | H |
|---|---|---|---|---|---|---|---|---|
| 1/4″ | 11 | 65 | 46 | (63.5) | 25 | 30 | 30 | Rc1/8 |
| 3/8″ | 17.5 | 73.5 | 56 | (79.4) | 28 | 37 | 37 | Rc1/8 |
| 1/2″ | 17.5 | 73.5 | 56 | (86) | 28 | 37 | 37 | Rc1/8 |
| Size | A | B | C | D | E | F | G | H |
|---|---|---|---|---|---|---|---|---|
| 1/4″ | 11 | 65 | 46 | 89 | 25 | 30 | 30 | Rc1/8 |
| 3/8″ | 17.5 | 73.5 | 56 | 105 | 28 | 37 | 37 | Rc1/8 |
| 1/2″ |
| Size | A | B | C | D | E | F | G | H |
|---|---|---|---|---|---|---|---|---|
| 1/4″ | 11 | 65 | 46 | 44.4 | 25 | 30 | 30 | Rc1/8 |
| 3/8″ | 17.5 | 73.5 | 56 | 55 | 28 | 37 | 37 | Rc1/8 |
| 1/2″ |