Model specifications for the order request.
PDV series stands as the standard type of Primet diaphragm valves.
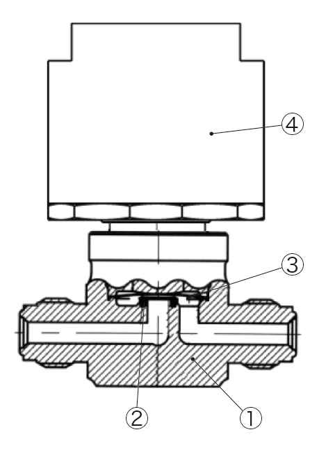
It has forged body made of SUS316L (single melt) and is compatible with various types of fitting (metal seal, double ferrule and butt weld).
| Size | 1/4” | 3/8” | 1/2” | |
|---|---|---|---|---|
| Cv value | 0.27 | 0.65 | ||
| Max.Operating Pressure | 1.0MPa(G) | |||
| Operating Temp. Range | -10〜80℃ | |||
| External Leakage | Inboard | ≦3×10-12 Pa・m3 /sec Helium | ||
| Across Seat | ≦3×10-10 Pa・m3 /sec Helium | |||
| Part name | Material |
|---|---|
| ①Body | SUS316L |
| ②Seat | PCTFE |
| ③Diaphragm | Ni-Co Alloy |
| ④Actuator | Aluminum |
| Size | A | B | C | D | E | F | G | H |
|---|---|---|---|---|---|---|---|---|
| 1/4″ | 11 | 65 | 46 | 58 | 25 | 30 | 30 | Rc1/8 |
| 1/2″ | 17.5 | 73.5 | 56 | 76 | 28 | 37 | 37 | Rc1/8 |
| Size | A | B | C | D | E | F | G | H |
|---|---|---|---|---|---|---|---|---|
| 1/4″ | 11 | 65 | 46 | 70.6 | 25 | 30 | 30 | Rc1/8 |
| 1/2″ | 17.5 | 73.5 | 56 | 100 | 28 | 37 | 37 | Rc1/8 |
| Size | A | B | C | D | E | F | G | H |
|---|---|---|---|---|---|---|---|---|
| 1/4″ | 11 | 65 | 46 | (63.5) | 25 | 30 | 30 | Rc1/8 |
| 3/8″ | 17.5 | 73.5 | 56 | (79.4) | 28 | 37 | 37 | Rc1/8 |
| 1/2″ | 17.5 | 73.5 | 56 | (86) | 28 | 37 | 37 | Rc1/8 |
| Size | A | B | C | D | E | F | G | H |
|---|---|---|---|---|---|---|---|---|
| 1/4″ | 11 | 65 | 46 | 89 | 25 | 30 | 30 | Rc1/8 |
| 3/8″ | 17.5 | 73.5 | 56 | 105 | 28 | 37 | 37 | Rc1/8 |
| 1/2″ |
| Size | A | B | C | D | E | F | G | H |
|---|---|---|---|---|---|---|---|---|
| 1/4″ | 11 | 65 | 46 | 44.4 | 25 | 30 | 30 | Rc1/8 |
| 3/8″ | 17.5 | 73.5 | 56 | 55 | 28 | 37 | 37 | Rc1/8 |
| 1/2″ |